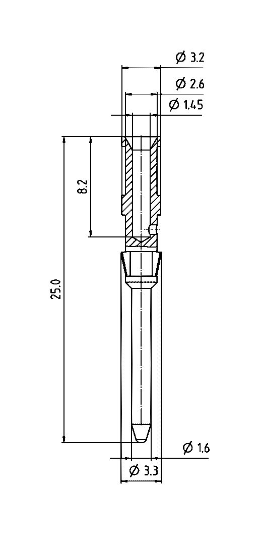
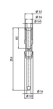
Általános jellemzők
továbbkevesebb| Alkatrész sz. | 61 0893 139 |
| Csatlakozó kialakítása | Krimpelőérintkező |
| Verzió | érintkező stift |
| Csatlakozási keresztmetszet | 0,75-1,00 mm² |
| Tömeg (gr) | 0.63 |
| Vámtarifaszám | 85369095 |
Anyag
továbbkevesebb| Érintkező anyaga | CuZn (sárgaréz) |
| Érintkező bevonat | Ag (ezüst) |
| REACH SVHC |
CAS 7439-92-1 (Lead) |
| Jelen lévő PFAS | f27e1dfe-5f24-4599-93ed-c61382e6d020 |
Osztályozások
továbbkevesebb| eCl@ss 11.1 | 27-46-04-03 |
Biztonsági figyelmeztetések
- The user must take suitable safety precautions to ensure that the connector cannot be accidentally disconnected.

