Allgemeine Kennwerte
mehrweniger| Artikelnummer | 61 1313 139 |
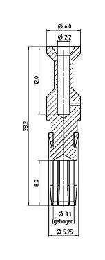
| Steckverbinder-Bauform | Crimpkontakt |
| Ausführung | Kontaktbuchse |
| Anschlussquerschnitt | 2,50 mm² |
| Gewicht (gr) | 3.02 |
| Zolltarifnummer | 85369010 |
Werkstoffe
mehrweniger| Material Kontakt | CuZn (Messing) |
| Kontaktoberfläche | Ag (Silber) |
| REACH SVHC |
CAS 7439-92-1 (Lead) |
| SCIP Nummer | 5999e107-7ad4-4804-99d3-c5cc0ce2338a |
Klassifikationen
mehrweniger| eCl@ss 11.1 | 27-46-04-03 |
Sicherheitshinweise / Montagehinweise
- Durch den Anwender sind geeignete Sicherheitsvorkehrungen zu treffen, damit der Steckverbinder nicht versehentlich gelöst werden kann.

